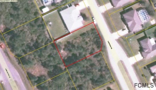
41 Langdon Dr., Palm Coast, FL 32137
Photo 1 of 1
$15,000
Sold on 12/27/16
Beds Baths Sq. Ft. Taxes Built
0.00 0 $229.76
On the market: 236 days
View full details, photos, school info, and price history
Location at its finest! Buy now and build your dream home in one of Palm Coast's most sought after subdivisions. This quiet neighborhood is located close to schools, shopping, beach and golf course.
Listing courtesy of Jennifer Wilmot, REALTY EXCHANGE, LLC